1
政府信息公开
/col/col5/index.html
信息公开目录
/col/col101/index.html
行政许可与行政处罚双公示事项清单
/col/col3061/index.html
当前位置:
首页
>
政府信息公开
>
信息公开目录
>
行政许可与行政处罚双公示事项清单
索引号
113209000143549692/2023-25278
组配分类
行政许可与行政处罚双公示事项清单
发布机构
市公安局
发文日期
2023-12-15
文号
公开方式
主动公开
主题分类
公安、司法
时效
有效
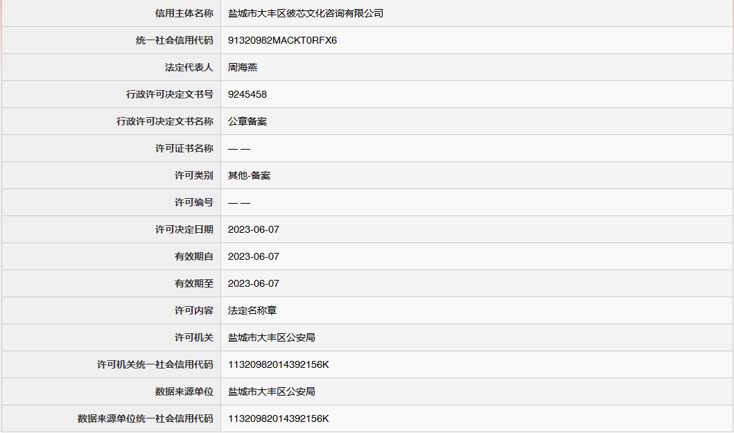
关于对盐城市大丰区彼芯文化咨询有限公司的公章备案许可
打印
关闭